Answers to each part of this question should be brief: a sentence or two, or a quick sketch. (1 mark for each part)
.
If a faceted boundary model of a single object has
14 faces, 24
vertices, 4 rings, and 36 edges, how many holes are there
in it?
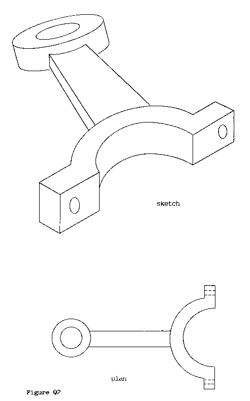
Figure Q2 shows a con-rod from an internal combustion engine. A set-theoretic modeller with (among other things) cuboids and bounded cylinders (that is, cylinders with ends) as primitives is going to be used to model the con-rod. Construct a set-theoretic expression for the con-rod, describing (with the aid of sketches, if need be) which primitives are which parts of the con-rod. (14 marks)
The con-rod is to be made by forging. How might the mass of the steel blank that will be forged into its shape be estimated from the model? Assume that no material will be lost as flash or in other ways. (6 marks)
Using interval arithmetic, find out if the axis-aligned rectangle with
corners at (-1,-1), (2,4) is wholely inside or wholely outside the
region defined by the two-dimensional polynomial
inequality
, or if it might cut across
the region's boundary. (12 marks)
What use does this technique have in dealing with three-dimensional set-theoretic geometric models? (8 marks)
The formula for a Bézier curve,
, is:

Show that for the four-point control track {(1,1), (2,2), (3,1), (3,3)}
the formula gives the same curve-point at
as the De Casteljau
construction. (12 marks)
A general parametric quadratic curve in space is
, where
is
the point on the curve at t,
, and the
are
vector coefficients,
. Describe how you
might find the closest point on the curve to a point,
.
(5 marks)
What problems might your method have if the degree of the curve was higher? (3 marks)
A simple boundary-representation modeller is to be used to represent faceted single objects with no holes. Using any computer language, describe a data structure that might be used to hold such a model (10 marks) and say how this might be checked for solidity against a simplified version of the formula in question 1.7 (5 marks).
Show how a cuboid would be represented in your data structure. (5 marks)
© Adrian Bowyer 1996